Lam et al. clued us into TURBO cancer post mRNA technology COVID vaccine; rapid aggressive TURBO cancer you ask? Well, patient reported receiving second dose of COVID-19 vaccine
-BioNTech) in the right arm the day before the breast MRI showing an irregular mass with irregular margins at the site of biopsy-proven DCIS.
https://jamanetwork.com/journals/jama/fullarticle/2787650
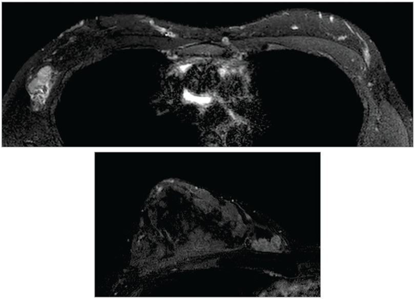
‘A39-year-old healthy woman without family history of malignancy found a mass in her right breast at 38 weeks of pregnancy. Prior to delivery, she underwent diagnostic ultrasound of the right breast, which showed a possible mass in the location of the palpable lesion that was most consistent with a normal island of fibroglandular tissue. Follow-up mammogram and ultrasound of the right breast (without axillary evaluation) were performed 6 months later, which showed an irregular 17-mm mass with associated pleomorphic calcifications in the same area. Ultrasound-guided biopsy was performed. Pathology showed high-grade, estrogen receptor–positive ductal carcinoma in situ (DCIS). On postbiopsy physical examination, the patient had a palpable 2.5-cm right breast mass at the 3-o’clock position without palpable axillary lymphadenopathy.
Surgical treatment with lumpectomy was recommended, and breast magnetic resonance imaging (MRI) was performed prior to surgery to evaluate the extent of disease (Figure). Axial T2-weighted MRI at the level of the axilla revealed edema surrounding 2 enlarged, morphologically abnormal right level-1 axillary lymph nodes; axial postcontrast T1 fat-saturated MRI of the right breast revealed an irregular mass with irregular margins at the site of biopsy-proven DCIS. The patient reported receiving her second dose of COVID-19 vaccine (Pfizer-BioNTech) in the right arm the day before the breast MRI.’
Top, Axial T2-weighted magnetic resonance imaging (MRI) at the level of the axilla. Bottom, Axial postcontrast T1 fat-saturated MRI of the right breast.



Interesting interview with Ed Dowd: cancer up about 35%, unemployment is not low- the work force has shrunk, more:
https://www.zerohedge.com/medical/too-big-hide-ed-dowd-slams-covid-vax-injuries-cover-its-crime
Dr. Paul Alexander, please publish this matter. Thank you !!!
Scott McCluskey <scotts.mccluskey@gmail.com>
1:08 PM (8 minutes ago)
to Rob
FYI,
Alberta Court strikes down all Dr. Deena Hinshaw's Covid health orders as ultra vires. This Facebook link has the lawyers involved discuss the entire case in detail.
https://fb.watch/m979fjneiD/
When will BC apply the same legal precedent to Dr. Bonnie Henry ?? What will the BC politicians do ??
https://www.westernstandard.news/alberta/alberta-court-strikes-down-hinshaws-public-health-orders-that-violated-charter-freedoms/article_d8d58878-307b-11ee-b984-c7de8ca58c6c.html
https://www.cbc.ca/news/canada/calgary/court-alberta-public-health-restrictions-constitutional-challenge-decision-1.6923171
Huge ramifications !